China Bikin Tombol Hologram, Minimalkan Kontak Fisik Covid 19
China memang sudah mengumumkan kemenangan atas wabah virus Corona – Covid 19 sejak pekan lalu. Namun kesadaran warga sudah terbentuk dalam meminimalisir kontak fisik antar satu sama lain. Bahkan di beberapa tempat publik seperti di elevator, masyarakat memilih menggunakan tusuk gigi ketimbang menggunakan jari mereka untuk sekedar menekan tombol.
Kekhawatiran itu tentu bukan tanpa alasan. Pasalnya virus corona sudah diketahui dapat ditularkan melalui droplet. Karena kondisi inilah yang kemudian memunculkan inisitif mengembangkan system tombol hologram di beberapa layanan public. Mulai dari sistem tombol hologram di elevator, ataupun yang lain.
Sistem tombol hologram untuk elevator di China ini dibuat oleh perusahaan Easpeed. Kabarnya, satu perangkat sistem tombol hologram ini dibuat dengan biaya sekitar 15.000 Yuan, atau sekitar USD 2.163. Jika dirupiahkan dengan kurs saat ini adalah sebesar Rp. 34,4 juta.
Pemanfaatan sistem tombol hologram di elevator itu digunakan pertama di pada sebuah elevator yang ada di kota Hefei. Masyarakat sudah bisa memanfaatkan fitur tersebut untuk menekan tombol lantai berapa yang hendak dituju, berdasarkan media lokal China (3 Maret 2020). Pasca itu, perusahaan Easpeed dikabarkan telah mendapat lonjakan permintaan lebih dari 100 unit.
Ternyata tidak hanya dari Easpeed untuk elevator saja. Salah satu rumah sakit Universitas Sains dan Teknologi China di Provinsi Anhui juga menggunakan sistem serupa. Tim di universitas tersebut juga mengembangkan teknologi sistem tombol hologram di sebuah mesin swalayan multi fungsi yang ada di rumah sakit tersebut.

Dengan fitur ini, jari pengguna tidak harus melakukan kontak langsung untuk menekan tombol. Pengguna hanya menekan tombol hologram yang ada pada system itu untuk dapat melakukan pembayaran.
Kabarnya sistem ini juga diproyeksikan untuk digunakan di berbagai tempat publik. Terutama untuk lokasi-lokasi yang dinilai rentan sebaran virus corona – Covid 19. Upaya ini dinilai cukup penting untuk mencegah sebaran virus, dengan meminimalisir kontak fisik secara langsung.
Mesin yang dikembangkan oleh tim universitas tersebut diberi nama teknologi DCT-plate, seperti yang dilansir dari scitech China (24/1/2020). Teknologi yang dibikin ini menjadi pertama kali digunakan di China, terkait untuk menghambat sebaran virus Corona covid 19.
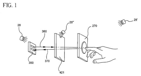
Namun pemanfaatan teknologi tombol hologram faktanya memang bukan menjadi hal yang baru. Jauh sebelumnya di tahun 2003 silam sudah pernah muncul sebuah pengajuan paten yang dipublikasikan di Google oleh Holotouch Inc.

Paten tersebut diajukan pada badan paten AS dengan nomor 60/484.838. Dari pengajuan paten ini diketahui bahwa pemanfaatan tombol hologram menggunakan holographic human-machine interfaces (HMIs).
Sayangnya memang pemanfaatan teknologi sistem tombol hologram memang tidak digunakan secara meluas. Wakil Kepala Staf Medis Dr Jenny Harries di BBC (12/3/2020), menyebut potensi sebaran virus juga dapat terjadi melalui kontak beberapa media baik permukaan yang lunak maupun keras.
Pada kesempatan itu, Dr Jenny mengatakan bahwa virus corona dapat bertahan hidup di permukaan lunak selama 24 jam, sedangkan untuk permukaan yang keras sekitar 48 jam. Namun Dr Jenny juga memberikan gambaran berbeda. Pasalnya sebuah studi baru yang muncul bulan Maret ini menyebutkan virus corona juga dapat bertahan hidup di permukaan kaca, kertas, maupun logam.
Oleh sebab itu, salah satu cara yang paling memungkinkan untuk menjaga kontak langsung, baik untuk menekan tombol di elevator, pegangan logam di stasiun kereta api, peralatan gym, dan lain-lainnya.
Leave a Reply
You must be logged in to post a comment.




